广州市威恒电子有限公司
                                                NEWS INFORMATION


                                                                              新闻资讯

威恒电子WCG50-20/40-R28-自复位40度旋转电磁铁在血液透析机安全夹管阀中的关键应用案例
来源: | 作者:广州威恒电磁铁事业部:孔工 | 发布时间: 2026-03-24 | 7 次浏览 | 🔊 点击朗读正文 ❚❚ | 分享到:

威恒电子WCG50-20/40-R28-自复位40度旋转电磁铁在血液透析机安全夹管阀中的关键应用案例

一、行业背景

血液透析机通俗的说法也称为“人工肾”、“洗肾机”,是人体血液净化的一种专业医疗设备。原理是利用半透膜原理,通过扩散、对流,将人体内各种有害以及多余的代谢废物和过多的电解质移出体外,达到净化血液,维持电解质及酸碱平衡的目的,改善服务人体健康状况在血液透析、输液治疗等医疗场景中,患者体外循环管路的安全控制至关重要。当设备检测到气泡、压力异常或治疗结束时,必须立即阻断管路,防止空气栓塞或过量输液风险。传统夹管阀依赖进口电磁铁(如德国Kuhnke),存在采购成本高、交期长等问题。广州市威恒电子有限公司开发的 WCG50旋转电磁铁夹管阀,以高可靠性、快速响应和长寿命特性,成为医疗设备安全闭锁系统的国产化优选方案。

二、客户痛点与需求

某血液透析设备厂商面临以下挑战:

进口依赖:德国Kuhnke电磁铁成本占比高,供应链风险大。

响应速度:异常情况下需在0.1秒内完成管路夹闭,避免患者风险。

耐久性:单台设备年均动作超10万次,需>50万次寿命保障。

三、威恒电子解决方案

1. 核心部件:WCG50旋转电磁铁夹管阀

快速安全闭锁:通电后旋转动铁芯驱动压头,40°旋转夹闭管路,响应时间<80ms。

精准力度控制角度通电恒定夹持力0.3N±0.5N。

超长寿命电磁铁寿命>1000万次

国产化替代:性能对标德国Kuhnke,可替代成本降低40%,交期缩短至2周。

 

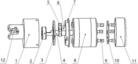
2. 旋转电磁铁工作原理

旋转电磁铁在血液透析机中的作用是夹管,类似阀门的开关,将输送管进行夹取和开合状态,电磁铁采用是钕铁硼材质的永磁转子,通电转动40度的角度,可在断电后靠永磁体的磁力吸合复位,而不是靠弹簧复位,内部除滚动轴承外,没有任何机械动作部件,从而内部没摩擦,寿命可达1000万次以上,达到性能稳定的效果。

 

 

3. 电磁铁参数规格

型号:WCG50-20/40-R28-40度右旋         尺寸:φ50*78.5,轴径8mm

电压:DC24V       电流:0.85A          功率:21W        力矩:0.3Nm

驱动可选用H桥驱动板WCGD-103或者WCGD-105

、客户收益

安全升级:毫秒级响应速度,显著降低临床风险。

成本优化:国产化方案降低BOM成本,供应链自主可控

五、结论

威恒电子WCG50旋转电磁铁以医疗级性能和安全设计,血液透析机成功打破进口品牌在高端夹管阀领域的垄断,助力医疗设备厂商提升产品竞争力。未来,随着居家透析和便携医疗设备的发展,该方案将持续为生命支持系统的安全防护提供核心技术支持。

——广州市威恒电子有限公司 医疗安全,旋转守护

有需要了解旋转电磁铁相关产品资料,请联系孔工:13610043537(微信同号)